When they are included, drawings form an integral part of a patent application, and therefore of its disclosure. But when and to what extent can the drawings of an application be relied upon as disclosing a particular feature?

The EPO Board of Appeal’s decision in T 0724/19 turned largely on what was and was not “directly and unambiguously derivable” from drawings, both in the opposed patent and in the prior art.

The patent (EP 2 741 402) relates to a rotor and has claims including a limitation that a formula H/L is greater than or equal to a given ratio (1/10 in the patentee’s main request) is satisfied. The ratio was said to provide a particular technical benefit in the claimed invention. H and L are dimensions relating to curved magnets and are defined as shown below.

Diagram from patent

However, the Figures of prior art documents D1 and E1 (see below) were deemed sufficient to enable a skilled reader to directly and unambiguously derive the ratios claimed in several requests.

Diagram from patent

This decision was reached even though the drawings in D1 and E1 were not necessarily drawn to scale and did not explicitly relate to the specific technical teaching at issue (little/ no information about the technical importance of the curvature of magnets in either case). The drawings were, nonetheless, held to be clearly more than merely schematic and sufficient to allow a determination of the claimed ratio, particularly at the relatively wide range of values covered by the claims.

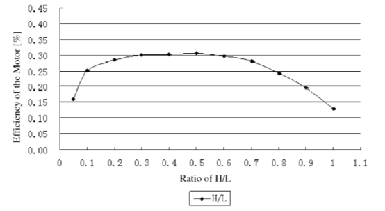
The patentee attempted to narrow the claimed range in various auxiliary requests but was generally unsuccessful when trying to rely on the graph of Figure 6 (below) for basis because the specific ranges of H/L chosen were deemed not to be directly and unambiguously derivable from that Figure.

Diagram from patent

Although the amendments related to specific points on the curve (0.3, 0.4, etc.) there was not enough teaching to lead a skilled person to modify the ends of the ranges already present in the claims, particularly from only one end.

It may not ultimately have been decisive that Figure 6 of the patentee’s application was described as schematic (the requested amendment required a much more specific ‘teaching’ to be derived from the Figure in question than did the novelty objection), but it is unlikely that it helped their later arguments that it provided more information than a schematic diagram.

Some applicants are concerned that providing accurate drawings of an invention might disclose more than is necessary. In such circumstances it is quite possible to file schematic drawings to illustrate a concept, but it will likely be far more difficult to rely on the disclosure of those drawings to support a later amendment to the wording of the patent application. In essence, as so often, one can’t have it both ways.

In this case, of course, the patentee had it neither way. Drawings in the prior art, though not explicit about the claimed feature, were deemed to provide a skilled person with enough information to deprive the claimed features of novelty. However, the patentee’s own Figure 6, which was described as schematic in the application, provided insufficient teaching to allow the claimed range to be narrowed as the patentee wished.

The message is perhaps that drawings, almost regardless of their form, can only reliably be used in isolation as a disclosure of more general features rather than specifics. They should be considered as support, rather than as a substitute, for a properly written description of the invention. If there are key features of an invention shown in drawings, then these features should still be identified and fully described in the application to avoid any question of what a skilled person would take from the drawings alone.

The decision also provides a further reminder of the EPO Board of Appeal’s strict approach to allowing changes to an appellant’s case after the issue of a summons only in exceptional circumstances.

The patentee attempted to file further requests in response to the preliminary opinion of the Board of Appeal, giving the justification that this was the first time they learned the Board’s position, and were responding to that. However, the position was essentially in line with the first instance decision and did not rely on any additional prior art. The patentee should have considered this possibility, and thus could (and should) have filed any additional requests to address it along with their appeal. The additional ‘late filed’ requests were, therefore, not admitted, even though the original opponent had withdrawn (meaning that they would not be adversely affected).

Get in touch

For IP and patent advice please contact an expert at Gateley IP.

Read more about Get in touch